适用于 自己有打印机或准备采购打印机,希望自行打印二维码标签、控制成本 的用户。
一、适用说明
在以下情况下,推荐使用 Excel + 排版软件 的方式打印二维码标签:
- 已有或计划购入标签打印机
- 二维码需要 批量打印
- 希望 单张打印成本尽量低
- 标签样式需要可控(尺寸、布局统一)
该方式常用于农产品承诺达标合格证、资产标签、物流标签等场景。
二、打印教程
1、安装打印机和排版软件
- 向打印机购买商家获取打印机驱动安装教程和排版软件安装包,按照教程说明安装即可。
- 放置不干胶标签底纸。
2、导出Excel二维码数据
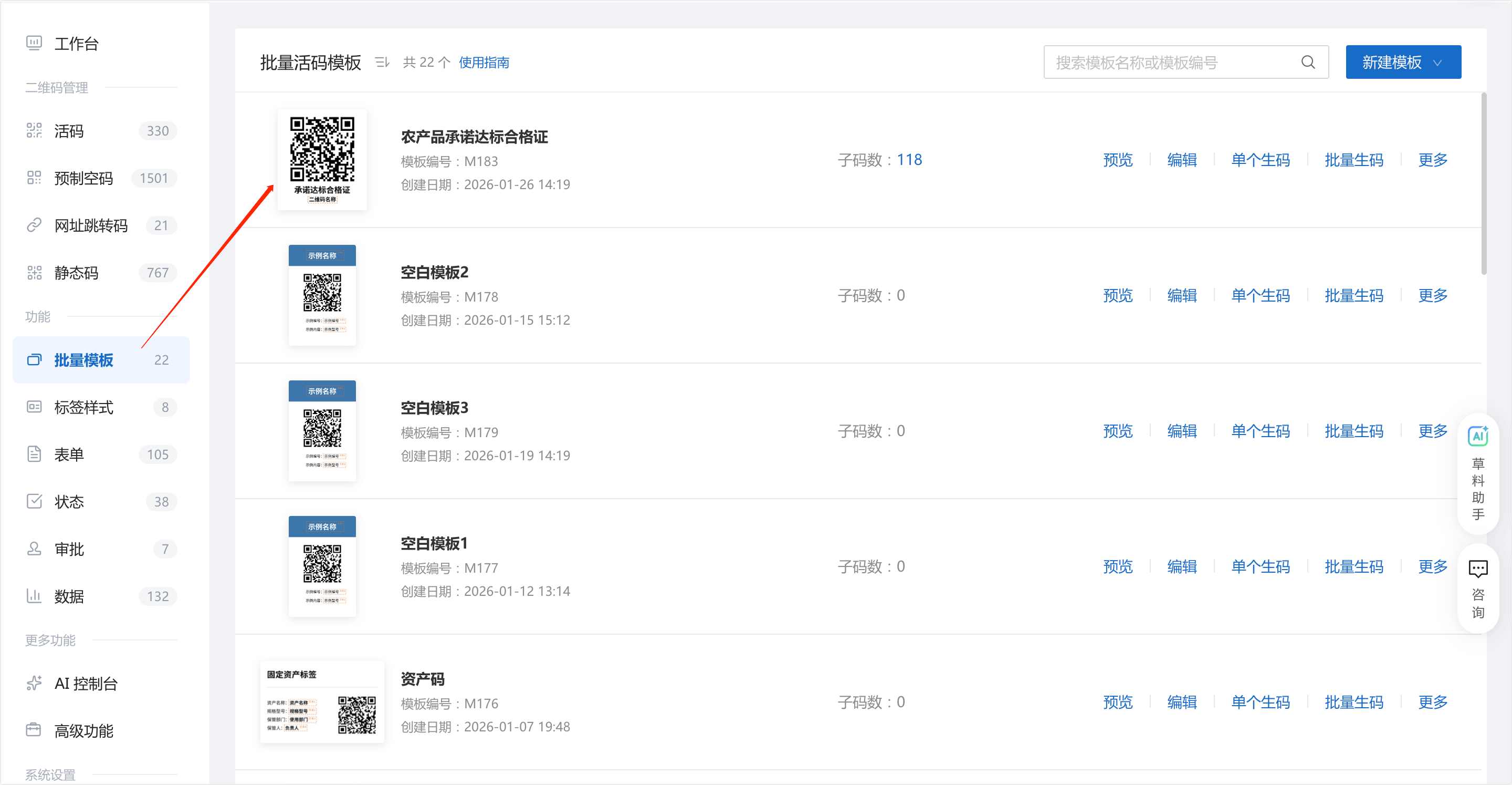
- 在草料电脑端后台选择需要打印的二维码,在「批量模板」中找到对应的模板。

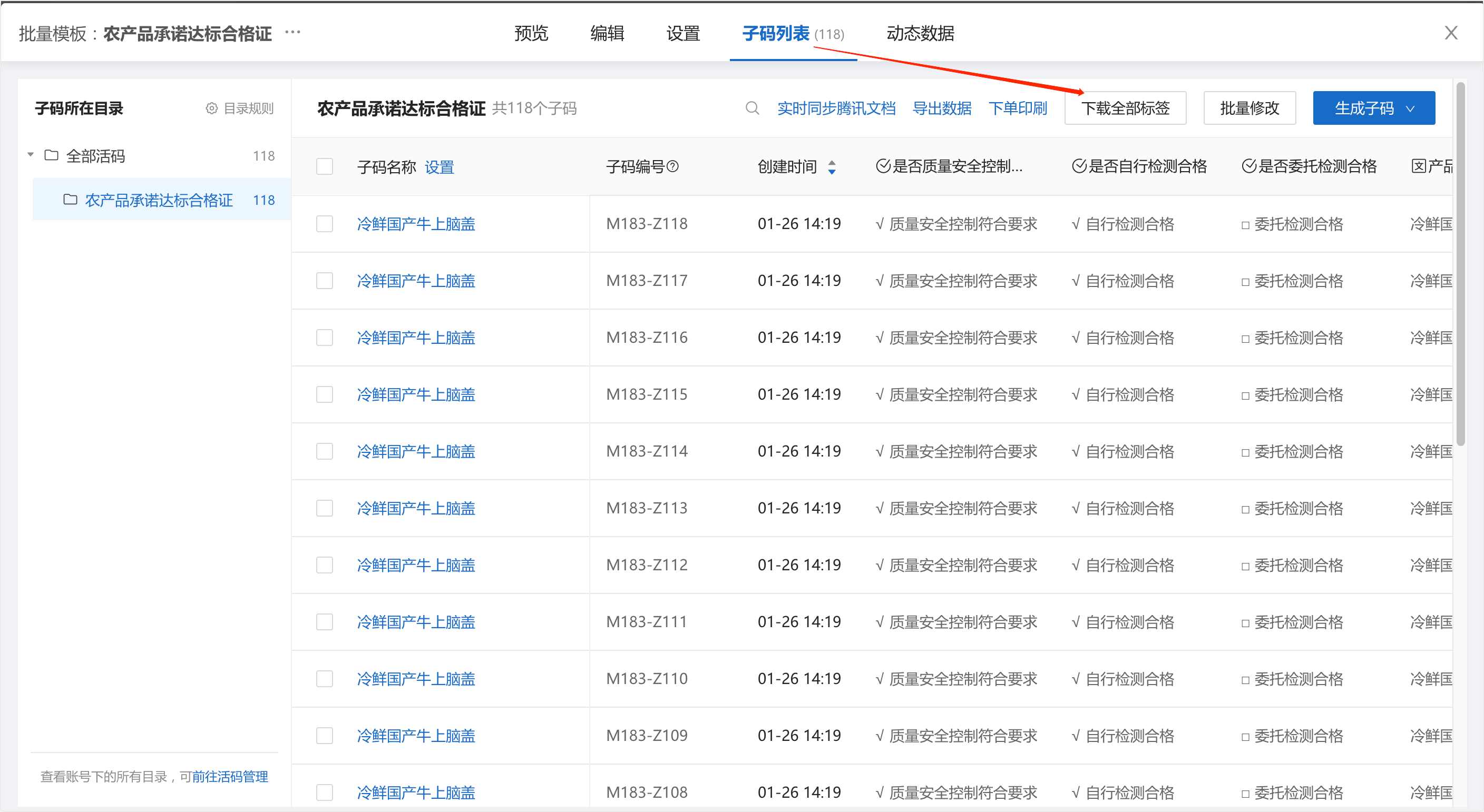
- 点击预览,切换到子码列表页面,点击下载全部标签

- 选择导出二维码数据,会以Excel格式导出
- 该 Excel 文件将作为后续打印时的 数据源文件。

3、排版设计
3.1 设计打印样式
- 在排版软件中新建标签模板
- 设置标签模板尺寸(必须与实际标签纸尺寸一致)
- 在画布中放置二维码区域(二维码不宜过小,避免影响扫码)
- 根据需要添加文字区域(如编号、说明等)
3.2 关联Excel数据
- 在排版软件中选择导入数据源
- 选择上一步下载的 Excel 文件
- 将二维码数据字段绑定到二维码对象
- 确认预览是否正确
3.3 开始打印
- 点击打印图标开始打印
- 首次打印建议先少量打印测试查看效果。有问题随时调整。
查看详细图文教程
三、选择标签打印机建议
在选购打印机前,建议先明确你的使用环境和目标。
一句话告诉你怎么选
- 追求低成本、常温使用 → 选热敏;
- 环境复杂、要耐用 → 选热转印。
打印机类型 | 工作方式 | 优点 | 缺点 | 适合场景 |
热敏打印机 | 热敏纸受热显色 | 成本低、速度快、维护简单 | 只能用热敏纸,不耐高温日晒 | 常温农产品、批量大、追求低成本 |
热转印打印机 | 碳带转印 | 清晰稳定、耐水耐低温、适配材质多 | 设备和耗材成本更高 | 冷链、水产、潮湿或低温环境 |
四、选择不干胶标签底纸建议
在选择不干胶标签底纸前,建议先明确你所拥有的打印机和使用环境。
一句话告诉你怎么选:
- 常温、短期使用:三防热敏纸即可,重点控成本
- 冷藏生鲜主流场景:五防热敏合成纸,稳定性与成本最平衡
- 追求清晰、票证感:三防铜版纸(不建议高湿冷链)
- 冷冻、水产、肉类、高摩擦:热转印合成纸(树脂碳带)
材质 | 所需打印设备 | 优点 | 缺点 | 适应环境 |
三防热敏纸 | 热敏打印机 | 成本最低; 打印便捷; 设备普及。 | 耐热、耐光、耐擦差; 遇高温、摩擦易掉字或整体变灰 | 常温流通、短周期使用 贴纸箱、室内仓储 |
五防热敏合成纸 | 热敏打印机 | 更防水 耐潮湿、耐摩擦明显优于三防 | 仍属热敏体系,长期耐高温/耐光不及热转印 | 冷藏(0–4℃)、潮湿环境 果蔬、净菜、乳品 |
三防铜版纸 | 热转印打印机+碳带 | 二维码边缘清晰 有纸印刷的美感 成本可控 | 纸基遇潮湿易起毛、翘边 耐撕裂一般 | 常温或短冷藏 贴纸箱、纸袋、平整包装 |
热转印合成纸 | 热转印打印机+碳带 | 抗水、抗油、抗化学、耐磨最强 冷链更稳定 | 成本最高 | 冷冻/冰鲜/水产/肉类 高湿高摩擦环境 |
